trophy slideshow-left slideshow-right chevron-right chevron-light chevron-light play play-outline external-arrow pointer hodinkee-shop hodinkee-shop share-arrow share show-more-arrow watch101-hotspot instagram nav dropdown-arrow full-article-view read-more-arrow close close email facebook h image-centric-view newletter-icon pinterest search-light search thumbnail-view twitter view-image checkmark triangle-down chevron-right-circle chevron-right-circle-white lock shop live events conversation watch plus plus-circle camera comments download x heart comment default-watch-avatar overflow check-circle right-white right-black comment-bubble instagram speech-bubble shopping-bag
In Partnership

ミドー オーシャンスター 現代に受け継がれる防水時計への情熱

ミドーの旗艦コレクションのひとつ「オーシャンスター」。多彩なラインナップは、一見しただけではモダンなダイバーズウォッチに映るが、そこには100年を超えるブランドの歴史において、実用的な腕時計―とりわけ防水性能の向上を推し進めてきた、ミドーの開発力と情熱が集約されている。

 ミドーが誕生したのは1918年。時計職人ジョージ・シャーレンがスイス・ゾロトゥルンに設立したシャーレン&カンパニーは、スペイン語の「Yo mido(私は計測する)」から取ったMIDO(ミドー)をブランド名とし、「時代を超えることが真に優れたデザインの証」というフィロソフィーに基づいたコレクションを展開する。

 草創期こそ、カラーエナメルを用いたエレガントなレディースウォッチや、モータリゼーションを意識したデザインの腕時計を発表するが、やがて1929年に起こった世界恐慌を機に方向性をシフト。1934年に発表した「ミドー マルチフォート」を契機として、以後、ミドーは実用的な腕時計の開発に注力していく。


ミドーの防水性能への挑戦

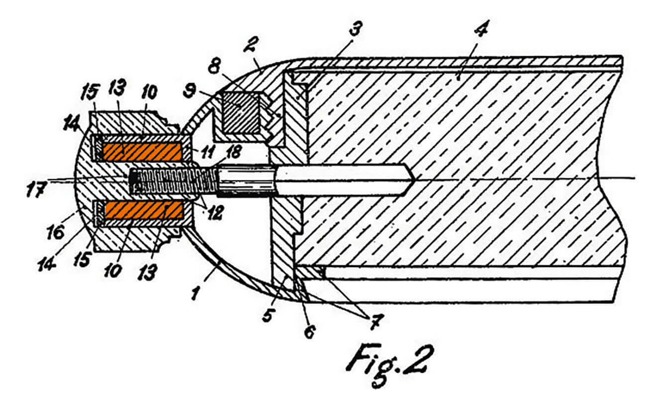
1930年代に考案されたコルク・クラウンシーリングシステム。図の13がコルクを用いたパッキン部分。この機構は1959年に「アクアデュラ」と名付けられた。

 「ミドー マルチフォート」は、ブランドのその後の時計開発における礎となったモデルだ。防水性、耐磁性、耐衝撃性を備えたこの腕時計は、完成するとすぐにニューヨークの電気試験研究所に送られ、過酷な条件下での品質テストを実施。淡水と海水での1000時間以上もの水中テストをはじめ、高温および低温環境での耐性試験、34年間の使用に耐えうるリューズの耐久テストなど、内容は多岐にわたるものだった。

 唯一、1万6600mの高度試験にはパスできなかったものの(6600mと1万3300mの試験はクリア)、この品質テストで立証された防水性能によって、ミドーは大きく躍進することになる。それを実現させたのが、独自機構のコルク・クラウンシーリングシステムだ。

腕時計の防水性を高めるべく1953年に開発し特許を取得した、耐水圧計測装置「スーパーウォーターテスト」。

1960年代の「オーシャンスター」の広告は灯台を想起させるビジュアル。海洋での安全性と信頼性をアピールする内容になっている。

 のちに「アクアデュラ」と呼ばれるこのシステムは、特別処理された天然のコルクを用いてリューズ内部の密閉性を保つ機構。当時まだ、多くのメーカーが腕時計の防水性能に試行錯誤を重ねていたことを考えれば、同システムがいかに革新的なものであったかが分かるだろう。

 翌1935年には自動巻きムーブメントを搭載した「ミドー マルチフォート オートマティック」の生産をスタートし、1944年にはコルク・クラウンシーリングシステムを採用した「オーシャンスター」を発表。1953年には腕時計の耐水圧を実証するための装置「スーパーウォーターテスト」を製作し特許を取得した。1953年以降はダイバーズウォッチの開発競争が激化していた時期だが、ミドーもまた、本格的に海洋シーンへと領域を広げていったのだ。

 そのひとつの到達点となったのが、1959年に登場した「オーシャンスター コマンダー」。アクアデュラをはじめ、圧入式のパーマフィットクリスタル、さらにはモノコックケースを採用して防水性をより向上させたモデルだ。気密性が高いためオイルの酸化速度も遅く、メンテナンスがほとんど必要なかったことも、このモデルの評価を押し上げた。

水深範囲ごとに色分けされたダイヤル上の目盛りで減圧停止時間を計算を可能にした、1961年発売の「オーシャンスター スキンダイバーウォッチ」。

オーシャンスター デコンプレッション タイマー 1961

13万4000円(税抜)

1961年のオリジナルモデルのヴィンテージテイストを再現。カラフルな目盛りはそのままに、ダイヤルとベゼルをブラックにすることでモダンな雰囲気に。世界限定1961本。SSケース。自動巻き。20気圧防水(200m / 660ft)。

 続く1961年には「オーシャンスター スキンダイバーウォッチ」を発表。優れた防水性能はもちろんのこと、ダイヤルに配されたカラフルな目盛りでダイビング時の減圧停止時間を計算できるユニークな外観のモデルで、2020年にはこの特徴的なデザインにインスパイアされた「オーシャンスター デコンプレッション タイマー 1961」が世界限定1961本でリリースされている。


現代のオーシャンスターの挑戦

 その後も防水性は進化を続け、「オーシャンスター」はミドーの防水技術をアピールする旗艦コレクションへと成長した。ヘリウムエスケープバルブを内蔵し、防水性を60気圧(600m)にまで高めた「オーシャンスター ダイバー 600」を筆頭に、現在、同コレクションは多彩なラインナップを展開。その中でもスポーティ&エレガントな外観に仕上げたのが、コレクション初となるクロノグラフモデル「オーシャンスター クロノグラフ」だ。

 イエローのスーパールミノバを塗布した太いインデックスと時分針は、昼夜はもちろん、光の届きにくい海中でも高い判読性を実現。ダイヤルの見返しには航海用のタキメータースケールを配すなど、海洋での使用を想定した「オーシャンスター」ならではのディテールが盛り込まれている。もちろん防水性は20気圧(200m)を確保。搭載される自動巻きムーブメントも60時間のパワーリザーブを保持した、実用的なモデルだ。

ブラックDLC加工が施されたステンレススティール製ケースは、サテンとポリッシュ仕上げを組み合わせることで立体的かつエレガントな雰囲気に。

フランジにはレーシングボートのスピード計測などに役立つ、航海用のタキメータースケールを表示。海洋コンセプトにふさわしいディテールだ。

インデックスと針の先端にはイエローのスーパールミノバを塗布。暗所での視認性はもちろん、ブラックダイヤルのアクセントにもなっている。

スクリューバックには「オーシャンスター」のシンボルであるヒトデのレリーフが入る。このモチーフは、防水性を謳うため1942年に考案されたもの。

 「オーシャンスター クロノグラフ」はスペックはもちろんのこと、その外観も魅力的だ。ブラックDLC加工が施されたステンレススティール製のケースに、ブラックセラミック製の逆回転防止ベゼル、さらにダイヤルとラバーストラップもブラックでまとめたこのモデルは、着用者の手元を引き締めつつ、たしかな存在感を放つ1本に仕上がっている。

 長い歴史の中で着実に進化させてきた防水性能と、創業以来貫いている洗練されたデザインの融合。「オーシャンスター クロノグラフ」は、ミドーのチャレンジングな歴史を今に伝えるタイムピースである。 

Photos: Jun Udagawa Styling: Eiji Ishikawa(TRS) Words: Yuzo Takeishi