trophy slideshow-left slideshow-right chevron-right chevron-light chevron-light play play-outline external-arrow pointer hodinkee-shop hodinkee-shop share-arrow share show-more-arrow watch101-hotspot instagram nav dropdown-arrow full-article-view read-more-arrow close close email facebook h image-centric-view newletter-icon pinterest search-light search thumbnail-view twitter view-image checkmark triangle-down chevron-right-circle chevron-right-circle-white lock shop live events conversation watch plus plus-circle camera comments download x heart comment default-watch-avatar overflow check-circle right-white right-black comment-bubble instagram speech-bubble shopping-bag

Introducing ロレックス 初のチタン製ウォッチで防水記録を更新(HODINKEE独占の撮り下ろし写真掲載)

もし、あなたが航海の無意味さを望むなら...新しいディープシー チャレンジはあなたのためのものだ。


ADVERTISEMENT
我々が知っていること

1960年、バチスカーフであるトリエステ号が1万916m(3万5814ft)の深海であるマリアナ海溝の底に降下した。トリエステ号の外側には、ロレックスのディープシー・スペシャルが取り付けられていて、この時計は、巨大なバブルクリスタルを備え、海底への旅を実現するために特別に設計された巨大なプロトタイプであった。そしてそれは成功を収めた。潜水後、ディープシー・スペシャルは完全に作動することが確認されたのだ(現在、この旅をしたディープシー・スペシャル No.3はスミソニアンのコレクションに収蔵されている)。

Rolex Deepsea Challenge Titanium

 今日、ロレックスは深海で活躍するレガシーを継承し、新しいディープシー チャレンジを発表した。このモデルはロレックスがRLXチタンと呼ぶ素材で作られており、ブランド初のフルチタン製ウォッチでありながら、1万1000m(3万6090ft)という底知れぬ防水性を備えているのだ。防水性能とチタンという、ふたつのストーリーがここにある。まずは水に浸かることから始めよう。

プロトタイプのディープシー チャレンジで深海に挑む

2013年、Hodinkeeはジェームズ・キャメロンがマリアナ海溝の底まで同行したオリジナルのディープシー チャレンジを撮影することができた。そして、Hodinkeeの読者はその実物を見る機会も得た。こちらでご覧ください。

 サブマリーナー(1953年)、シードゥエラー(1967年)、ディープシー(2008年)、ディープシー チャレンジ(現在)と、ロレックスが防水性能にかなり真剣に取り組んでいることは常々知られていることであった。ディープシー チャレンジの名前を目にするのは、実はこれが初めてではない。2012年、映画『アバター』の監督ジェームズ・キャメロンがマリアナ海溝に単独潜航するためにプロトタイプを製作したときのことである。この時計はわずか8週間で製作されたが、キャメロンとロレックスが望んだとおりの結果を出した。それは、ロレックスが文字通り海底の圧力に対応する時計を作る耐水性を備えることを証明するものであった。しかし、その時計はまだ実験的なものであり、大量生産には至っていなかったのだ。今日のディープシー チャレンジは、10年前に行われたその実験の商業的な表現なのである。

Rolex Deepsea Challenge Titanium
Titanium Rolex Deepsea Seadweller
Titanium Rolex Deepsea Seadweller

 新型のディープシー チャレンジのサイズは直径50mm、厚さ23mm(そのうち9.5mmはサファイア風防)だ。ロレックスは、ディープシー チャレンジを実際の防水性能の125%(つまり1万3750m)でテストし、この防水性を検証するために長年のパートナーであるCOMEXと強化高圧タンクを開発した(ジェームズ・ステイシーがブランドのテストプロセスをもう少し深く掘り下げる記事を執筆予定だ)。価格は309万3200円(税込)。

ロレックス ディープシー・スペシャル No.1が200万ドルで落札されたとき

ちょうど昨年、2本のロレックス ディープシー・スペシャルがオークションに出品された。ディープシー・スペシャル No.1(上)はクリスティーズで190万スイスフランで落札。これは、ジャック・ピカールとドン・ウォルシュによる初期の潜水でトリエステ号に取り付けられたロレックスであり、マリアナ海溝の底への記録的なダイビングではNo.3が使用された(No.3はより大きなクリスタル風防を備える)。大きな時計だが、元オーナーでTalking Watchesにも出演したレザ・アリ・ラシディアン氏は、この時計が非常に使いやすく「ランチに出かけるだけでも」頻繁に身につけていたとジェームズに話している。昨年のディープシー・スペシャルの全貌はこちらでご覧いただける。

 ちなみに、現行のロレックス ディープシーが3900mなので、ディープシー チャレンジはその約3倍の水深に対応することになる(ちなみに今年初めに発表されたオメガ シーマスター プラネットオーシャン ウルトラディープの水深は6000mだった)。

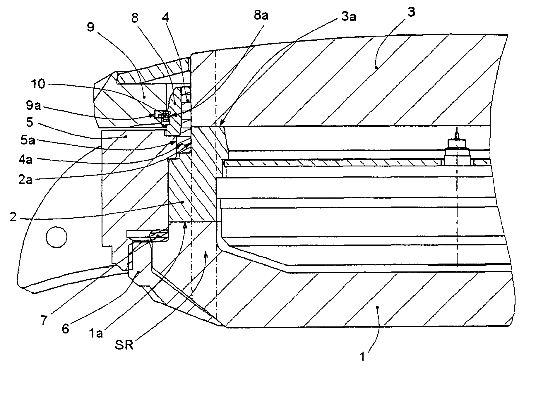
 ディープシー チャレンジの1万1000mという防水性能は、いくつかのコア技術によって達成された。まず、リューズは特許取得のリングロック システムが採用されている。元弁護士であり、ロースクール時代に友人やクライアントがまったくユニークで斬新なビール発酵プロセスを開発したと考えて特許申を請しようとした(すぐに却下された)私としては、どうしてもロレックスのリングロック システムの特許情報を見つけるまでは満足できなかった。見つけたものをここで紹介しよう。2007年にロレックスが出願した「密閉型腕時計ケース」(Sealed wrist watch case)。これは新しい技術ではないが、それでも注目する価値はある。

rolex ringlock system patent

ロレックスのリングロックシステムを説明する画像(2007年の特許出願より)。

 リングロックとは、ケース内にステンレス製のインナーリングを設け、その片側にクリスタルを、もう片側にチタン製のケースバックを取り付けたものだ。 風防は表面積が大きいため、水中に潜ると大きな力がかかる。リングロックが圧力を受け持つため、ケース自体を薄くすることができるのだ。実際、特許のなかでロレックスは、これこそが解決しようとした問題だと述べている。特許出願の際、「水深3000mから5000mまでの耐圧性を持つ密閉型腕時計ケースを作る際に起こる問題は、特にその厚さである」と記している。確かにディープシー チャレンジは分厚いチタンの塊だが、リングロックがなければ、さらに分厚いものになっていたことだろう。リングロックがあれば、ディープシー チャレンジは私よりもっと本格的なダイバー(少なくとももっと本格的な手首の持ち主)が着用できる時計になるのだ。

Deepsea Challenge
Deepsea Challenge
Deepsea Challenge lume shot

 本機は、シードゥエラーやディープシーと同様、ヘリウムエスケープバルブを採用し、時計の弱点であるクリスタルの破損を防ぎ、ヘリウム分子を安全に逃がすことができる。ロレックスは1967年にこの機構の特許を取得し、より本格的なプロフェッショナルダイバーズウォッチとして今もなお忠実にその役割を担っているのだ。

 ディープシー チャレンジの興味深い点として、シードゥエラーやディープシーとは異なり、日付表示がないことが挙げられる。SEALABで何日も海底に潜るダイバーのために設計されたシードゥエラーとは異なり、ディープシー チャレンジはキャメロンがマリアナ海溝の底で行った冒険のように、短期間の潜水を想定して設計されている。

 さて、もうひとつのビッグニュースだ。ディープシー チャレンジは、ロレックス史上初のフルチタン製モデルだ。アルミニウムとバナジウムを含む合金であるグレード5チタンを使用している。これだけ大きな時計を作るなら、スティールよりも軽い金属を使った方がより装着しやすいというのが、チタンを採用した最大の理由だろう。チタンはスティールに比べて約40%も軽いのだ。ディープシー チャレンジはスティール製の場合350g程度になるのだが、実際は251gだ。

New Titanium Rolex Deepsea Challenge

 ご存じのように、チタンはスティールに比べて機械加工が難しく、特に弾性係数が低いため、エンジニアのあいだでは「たわみやすい」「変形しやすい」と言われている(例えばスティールよりもだ)。ロレックスは、ディープシー チャレンジの開発には3年かけたが、チタンについてはもっと前から研究・実験していたという。実際、2007年のリングロックの特許には、チタンの使用が何度も明記されている。初代ディープシーに搭載されたリングロックは、極限深度の圧力に耐える柔軟な特性を持つチタンのケースバックを採用してきた。“曲げて、壊れない”の典型例といえるだろう。

ADVERTISEMENT
我々が思うこと

数週間前、ジュネーブで新しいディープシー チャレンジを見たり、身につけたりする機会があった。私は1950年代の34mm径のロレックスをつけて研究開発責任者と会ったが、彼はその文字盤に耐衝撃性(shock-resisting)としか書かれていないことを理由に、古風な時計だと評価していた。ロレックスは文字盤に、その時計が持つ驚くべき技術的偉業の数々を証言している。

 リストショットを見ると、私が今週のワールドシリーズでホームに滑り込める確率と同じくらい、この時計が袖口の下に滑り込める可能性が低いことは明らかだ。しかし、これはとにかくスーツの下よりもウェットスーツの上でよく見えるだろうタイプの時計だ。ロレックスは何年もチタンを使って実験していると言っていたが、その成果が表れている。チタンは、ケースとブレスレットのほとんどの面で、マットとサテンで美しく仕上げられている。ラグには鏡面仕上げのエッジが施され、コントラストが強調されている。その場で簡単に調整できるようブレスレットにはグライドロックとフリップロックを搭載。本来の時計の目的通りに使おうとする人のため、ウェットスーツの上でフィットするように伸ばすことが可能だ(私とは関係ないことである)。ディープシー チャレンジはラグからラグまでの全長が約61mmだが、1万2000m防水仕様の時計をお探しなら、おそらく気にならないだろう。

 チタンは、あなたの心を少しばかり惑わせる。大きな時計だが、手に取ってみると、決して耐えられない重さではない。私の小さな手首では、直径と厚みに圧倒される可能性が大だが、251gのチタンを装着していても、ちゃんと腕を上げることができた、本当だ。大きな時計が好きな人にとっても、ディープシー チャレンジはワンランク上の時計だろう。現在のロレックス ディープシーは、直径44mm、厚さ17mm。しかし、防水性能を思い出してくれ。ディープシーの防水性能は、その3分の1程度だ。プロトタイプのディープシー チャレンジの写真(上)を見ると、ロレックスが技術的なスペックを一切妥協することなく、これだけのサイズを削り出したことは興味深い。

Deepsea Challenge on wrist

 ムーブメントに関する一般的な記述(高精度クロノメーター)に加え防水性能、リングロックシステム、ヘリウムエスケープバルブ、そして新しい“Deepsea Challenge”のブランドマークなど、ロレックスに見られるような多くの技術証明が文字盤上に記されている。さらに、ブランド初のチタン製ウォッチというステイタスも見逃せない。この時計を購入するかどうか、あるいは身につけるかどうか(あるいは見るかどうか)には関係なく、この時計はこれらの理由から印象的なのだ。1967年(ヘリウムエスケープバルブ)、2008年(リングロック システム)、そして今日(チタンケース)のロレックスの技術を搭載しているのである。

 ロレックスは、小さな微調整や改良を加えながらも、決して一度に大きな変更を加えることなく、未来に向けて少しずつ歩みを続けることでよく知られている。しかし、あるモデルライン、つまりシードゥエラーとその55年の歴史を俯瞰してみると、ロレックスの本質が見えてくる。シードゥエラーとは常に深海への挑戦であり、ディープシー チャレンジはその次のステップで、文字通り海の底(マリアナ海溝の最大深度は1万984mで、チャレンジャー海淵と呼ばれている)まで評価できる時計を生産しているのだ。

Deepsea Challenge on wrist

 さて、ここで2012年から生産されているチタン製ダイバーズウォッチ、チューダー ペラゴスを比較する価値はある(その魅力は今年、ペラゴス39が発表されてさらに広がった)。ペラゴスと異なり、ディープシー チャレンジは、ブランドの現在のダイバーズウォッチ技術(我々が知るすべての技術)をすべて投入し、大量生産用に設計されながら、最大限のスペックを備えた新しいチタンパッケージとなっているのである。

 確かに、ディープシー チャレンジの絶対的でちょっとふざけているかのような防水性能を実際に使用することは、ほとんどの人にとって無理なことであり、そのスペックは理論上でという形にとどまるだろう。しかし、真剣な愛好家たちにとっては、わずか半年前に登場し、すでに無茶な深度評価を得ていた、最も深く潜れるライバルであるオメガ シーマスター ウルトラ ディープの有効深度評価を2倍にする、重大なアップグレードなのだ。これまで、1960年の初代ロレックス ディープシー スペシャル、2012年のキャメロンのプロトタイプ・ディープシー チャレンジ、そしてオメガのウルトラディープのプロトタイプなどが、マリアナ海溝の底を旅して文字通り海の底に到達した唯一の時計である。そして今回、ロレックスは同じ深さまで到達できる腕時計を商業生産用として発表した。このような技術力を持つ時計を大量生産できるのは、ケースサイズに関係なく、工学的な偉業と言えるだろう。

 さらに、自らの技術的限界を押し広げようとするブランドの継続的なコミットメントが、おそらく最もエキサイティングなことだ。50年代にダイバーのためにサブマリーナーを、60年代にはSEALAB隊員のためにシードゥエラーを製造したブランドにとって、ディープシー チャレンジはその物語の次の章にふさわしいものであると言えるのだ。

Rolex Deepsea Challenge Titanium Watch

基本情報

ブランド: ロレックス(Rolex)
モデル名: オイスター パーペチュアル ディープシー チャレンジ(Oyster Perpetual Deepsea Challenge)
型番: 126067

直径: 50mm
厚さ: 23mm
ケース素材: RLX チタン (グレード5チタン)
文字盤色: ブラック
インデックス: ホワイトゴールド
夜光: ダイヤルとベゼルにクロマライト
防水性能: 1万1000m(3万6090ft)
ストラップ/ブレスレット: RLXチタン製、グライドロックとフリップロックエクステンションリンクつき


ムーブメント情報

キャリバー: ロレックス Cal.3230
直径: 28.5mm
パワーリザーブ: 70時間
巻き上げ方式: 自動巻き
振動数: 2万8800振動/時
石数: 31
クロノメーター認定: ロレックス 高精度クロノメーター (COSC、ケーシング後にロレックスが認定)


価格 & 発売時期

価格: 309万3200円(税込)
発売時期: 2022年11月

Rolex Deepsea Challenge Titanium Watch
Shop This Story

Hodinkee Shopでは、様々な中古ロレックスやヴィンテージロレックスを扱っています。コレクションはこちらからご覧ください。ロレックスについて詳しくは、ロレックスの公式サイトをご覧ください。