trophy slideshow-left slideshow-right chevron-right chevron-light chevron-light play play-outline external-arrow pointer hodinkee-shop hodinkee-shop share-arrow share show-more-arrow watch101-hotspot instagram nav dropdown-arrow full-article-view read-more-arrow close close email facebook h image-centric-view newletter-icon pinterest search-light search thumbnail-view twitter view-image checkmark triangle-down chevron-right-circle chevron-right-circle-white lock shop live events conversation watch plus plus-circle camera comments download x heart comment default-watch-avatar overflow check-circle right-white right-black comment-bubble instagram speech-bubble shopping-bag

Hands-On チューダー ブラックベイ P01

これが新しい「コマンドー」である。

ADVERTISEMENT

機密解除されて我々の知るところとなったプロジェクトだけを見ても、1950年代~60年代、アメリカ海軍は大それた実験を次々とやってのけた。例えば超音速水上戦闘機のプロトタイプ、コンヴェア社製シーダート。この戦闘機はその翼を水面につけ、離陸に十分なスピードに達するまでまるで船のような動きをした。シーダートとは、超音速の戦闘機が戦艦から飛び立たなくても済むように、開発された航空機のこと。この戦闘機は、プロトタイプが試験飛行中にバラバラになり、乗っていたテストパイロットが死亡したことで計画自体がキャンセルになった。時計についても同じような実験が実験に行なわれていた。

新型のチューダー ブラックベイP01は、極めて特徴的なベゼル逆回転防止メカニズムをベースに作られた1960年代のプロトタイプから誕生した。1960年代、時計の耐久性は今日のそれとは異なるものだった。当時、ベゼルの仕組みは総じてそれほど頑丈でも、よくできたものでもなかった。時間を測る場合にもベゼルが誤作動することで問題が生じたし、海軍の装備としては、重大な問題に繋がる恐れもあったのだ。

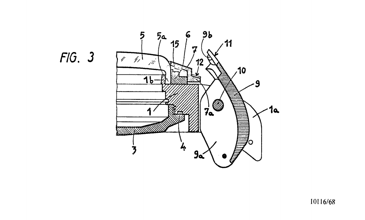
チューダーが「コマンドー」と銘打ったプログラムは、当初、偶発的にベゼルが回ってしまういかなる可能性をなくすための研究開発の一環として始まった。この研究の集大成が1968年にロレックスが特許を申請した構造だ。ラグの間に特別なメカニズムを収め、圧力を利用してベゼルを静止位置にしっかりと固定するという仕組みで、そのメカニズムの「フード」が外されない限り、ベゼルは本来あるべき場所にしっかりと固定されるという仕組みだ。コンヴェア社製シーダートと同じく、このプログラムも途中で廃止された。恐らく、単純な解決策を必要としていた課題に対して、この解は複雑過ぎただろう。でもそれも全てラーニングカーブの一段階だ。儲けの種と言われるようにね。

(戦後、米軍の開発予算を多く確保するため、仕様品メーカーがぶっ飛んだプロトタイプを次々と作ることが横行していた)

ADVERTISEMENT

アメリカ海軍はやがて空母から超音速の戦闘機を飛び立たせるための確実なカタパルト技術を開発し、チューダーもベゼルが緩くなる原因となっていた欠陥を修正した。ブラックベイのベゼルを触ったことはあるだろうか? それは見事なものだよ。

洗練されていてなおかつ信頼できるデザインに辿り着くためには、試行錯誤を要することが時としてある。このプロトタイプはまさにそのケースで、少なくともその過程で犠牲になったのは美しさだった。思い出して欲しいのは、この時計が海軍のためにデザインされたものであるということ。装備品がその機能をしっかりと果たす限り、アメリカ軍がその見た目にこだわることはあまりない。明らかなのは、逆回転しないベゼルが必要とされていたということ。

オメガだってプロプロフに用いられたメカニズムで逆回転防止ベゼルを作ろうと試みたことを忘れてはならない。スクワーレのタイガーにも同様の仕様があった。唯一の違いは、これらの時計は量産にこぎつけたことだ。プロプロフを美しいと言えるのはよっぽどの時計マニア(私もそのうちの1人)だが、オメガは復刻版プロプロフでまずまずの成功をおさめた様子で、そうなると、この変わり種のチューダーも評価されても良いのでは? と思う。 

1960年代に登場したものと並んで、この時計はチューダーの歴史の中にひっそりとしまい込んむべきだと、これほど物議を醸す時計を作ったチューダーはどうかしていたのではないかと考える人が多い。バーゼルワールドにおいて、チューダーがこの時計を大々的に最高傑作としてではなく、ひっそりと発表していればどうなっていたのだろうか? 一般ユーザーの反応にはタイミングによるところがあるのだと思う。時計業界最大のフェアで、ごく一部の人々に向けて作られた時計に社運を賭けるのは容易なことではない。チューダーは既に、ブラックベイのラインナップで多くのバリエーションを提供しているが、この時計がチューダーの名をおとしめるようなことは一切なく、それどころか、長年確固たるダイバーズウォッチを軍に供給してきたチューダーのブランドとしてのアイデンティティをさらに揺るぎないものにしている。 

この時計の背景、そしてなぜ見た目の美しさがそれほど重要視されなかったのかがわかったところで、その外観と着け心地について紹介しよう。

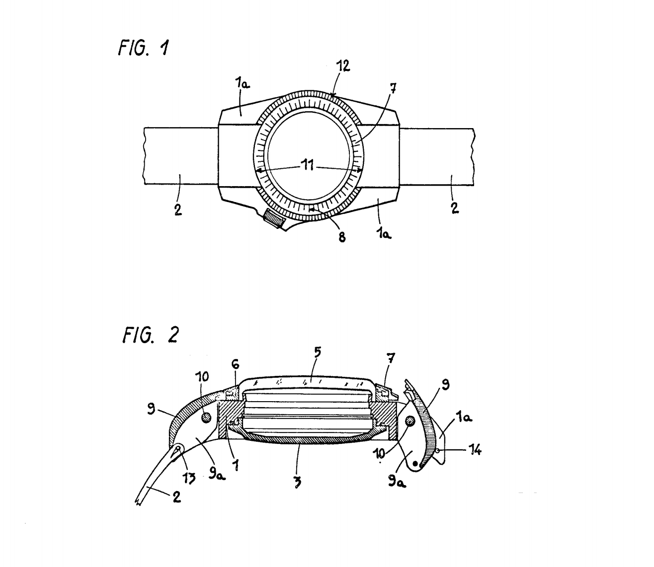
ブラックベイP01のサイズ感は即座に60年代の雰囲気と訴えかけてくる。個人的には「プロトタイプ」感満載な気もするが、どの時計でも、かつてはみんなプロトタイプだったのでないか。クリスタルを除き、ブラックベイP01のケースの横顔はロレックス ディープシー スペシャルプロトタイプのそれに似ていると思う。写真で見るよりも厚みがある。ブースには1960年代のオリジナル版「コマンドー」のプロトタイプも展示されていたが、これは、このプロトタイプが実在するのか否かに関する議論を鎮めるため、チューダーのさりげない戦略だと捉えられる。2つの時計が同時にブースに並んでいたことから、現行版のケースデザインはオリジナル版にかなり忠実であると断言できる。

12時位置にはベゼルを固定する“クロウ(爪)”メカニズムがある。作りのいいクラスプのフリップロックと同様な手ごたえで、パチっと開くまでクロウの外側に圧をかける。開いた後は、もう一度パチッと元の位置にはめない限りそのままだ。6時位置にある「クロウ」も前述のクロウと全く同じ見た目をしているが、こちらに機能はない。片方のクロウだけでベゼルが固定できるため、6時位置のものは外観に統一性をもたせるためのものではないかと思う。プロトタイプではどのようになっているのかはわからないが、どちらか一方のクロウが壊れた場合に備えて、両方のクロウに同じ機能をもたせるのも、万が一に備える1つの手のように感じられる。

ロッキングメカニズムの存在が際立つものの、ケースが手首に沿うようにカーブしており、本来分厚く感じるはずの42㎜ケースをスリム化した。ラグ幅は汎用の20㎜なので、ストラップのチョイスには困らない。個人的にはメッシュのストラップを合わせてみたい。着け心地も良く、1960年代のスタイルにぴったりだ。また、厚みのあるがっしりしたNATOも合わせやすいと思う。 

この「プロトタイプ」は、以前のブラックベイとは全く違う着け心地だ。同様に比較する相手として、ロレックス サブと、ディープ シー スペシャル プロトタイプが挙げられる。やはりP01は後者に近い存在だ。着こなしが難しい時計ではないが、正直なところ、私の日常生活で逆回転防止ベゼルが必要になることはない、が。皮肉にもP01は僕とって斬新な体験で、従来の機構よりひと手間かかる操作だが、これは思わず触ってしまうベゼルだ。 

ADVERTISEMENT

ベゼルが1960年代以降にどのような進化を遂げてきたのかを紹介したが、ムーブメントはそれ以上に進化している。P01には自社製のキャリバーMT5612が搭載されている。同ラインナップの幾多のモデルに実装したムーブメントで、信頼できるものと証明されてきた。このような時計には、シンプルかつ信頼できるムーブメント以外を搭載する理由はないのだ。いずれにせよ、それがチューダーのデザイン哲学だ。 

さて、ブラックベイP01は見た目で評価が分かれるものかというと? まさにその通りだろう。しかし、総合的にラインナップはよく練られいるうえ、チューダーは昨年、大衆受けする時計を十分に発表した。したがって、受け入れられるのに時間がかかるような時計を出したところで問題はないのだ。チューダーには実験の為の時間と自由が与えられて然るべきだと個人的には思う。

実験、それはまさにチューダーが1960年代後半に行っていたことだ。時計好きな我々はいつだってより小さなケースサイズ、仕様に忠実な復刻版を求めているが、チューダーは当時の哲学を正確に複製するという、それ以上のものを私たちに与えてくれている。チューダーはこの時計の商業的な成功には賭けていないのでは、という気さえする。これまでもそうであったように、この時計はただの実験なのだ。 

チューダー ブラックベイP01は2019年7月に発売。詳細はチューダー公式サイトへ。